TECHNICAL KNOWLEDGEBASE
【Grating Package】 【AR/VR/XR Package】
2023-02-14
Microsoft 社特許に基づいたバタフライ型瞳拡張格子を有するライトガイド

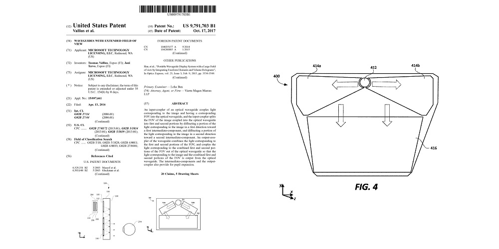
拡張/複合現実(AR&MR)用途のためのライトガイド 装置の設計過程において、視野角(FOV)のようなパ ラメーターは主要な関心事です。達成可能な視野角 の限界を押し広げるために、入射結合格子から出射 結合格子までの伝播中に視野角を分割する光学系な ど、さまざまな手法が検討されてきました。広く一般的 な手法の 1 つに、いわゆる「バタフライ型瞳拡張」があ ります。別々の 2 つの瞳拡張格子領域が視野角の正 負の部分に配置されるもので、Microsoft 社の Hololens 2 にも採用されています。ここでは、 VirtualLab Fusion においてこのような瞳拡張(EPE) のコンセプトを、Microsoft 社の特許(US9791703B1) に基づいて実現した例を紹介します。
モデリング概要:特許(US9791703B1US9791703B1)からのアプローチ

タスク説明

Light Guide Component
Light Guide Component により、複雑な形状の格子領域を持つライトガイド光学系を簡単に定義できます。さらに、入射/出射/瞳拡張格子として動作するよう、これらの領域に理想格子または実格子を設定することができます。詳細情報は以下を参照ください:
Construction of a Light Guide

入射/出射結合格子領域

単純にするために、円形の領域で2 つの1D 周期の入射結合格子を第1 面と第2 面上に1 つずつ使用しました。これにより、視野角の左右の部分において、わずかに非対称な動作が生じますが、両方の回折格子を第1 ・第2 面のいずれかに位置する1 つの2D 周期構造に組み合わせることで、これを克服することができます。
光を再結合し出射するために、矩形の領域を持つ1 D 周期出射結合格子を採用します。これは設計に柔軟性を持たせるための構成なので、代わりに2 D 周期の出射結合格子と交換することができます。

瞳拡張格子(EPE)領域

それぞれの領域の形状は、さまざまな手法と定義の方針により非常に柔軟に決定することができます。この例では、内側部分を切り取るために、2 つの楕円と組み合わせて、両方の瞳拡張格子を多角形領域によって定義しました。格子は1D 周期で、左右それぞれに±3535°回転させています。領域の定義についての詳細は以下をご覧ください:
Flexible Region Configuration

設計 & 解析ツール
VirtualLab Fusion は、ライトガイド光学系の設計と解析を行うユーザーを支援するための一連のツールを提供しています:
- Lightguide Layout Design ToolTool:
光学系のベースとして、1D 1 D 瞳拡張を有するライトガイドを設計します。
Light Guide Layout Design Tool - k-Domain Layout ToolTool:
設計したライトガイドの結合条件を解析します。
k-Domain Layout Visualization - Footprint & Grating Analysis ToolTool:
光学系内部のフットプリントを検出して、格子領域の大きさと形状を決定します。
Footprint & Analysis of Lightguides for AR/MR Applications

まとめ - コンポーネント

結果:光学系内の光線
アイボックス(camera detector)にヒットする光線のみ:

ライトガイド内部を伝播するすべての光線:

視野角:0°×0°

視野角:-20°×0°

視野角:20°×0°

VirtualLab Fusion のテクノロジー

ドキュメント情報
| タイトル | Microsoft 社特許に基づいたバタフライ型瞳拡張格子を有するライトガイド |
| ドキュメント番号 | LIG.0012 |
| バージョン | 1.0 |
| Edition / Toolbox | VirtualLab Fusion Advanced Light Guide Toolbox Silver Edition |
| 使用したVirtualLabのバージョン | 2021.1(Build 1.180) |
| カテゴリー | Feature Use Case |
| 参考資料 | Construction of a Light Guide Light Guide Design Tool Flexible Region Definition k-Domain Layout Visualization Footprint Analysis of Lightguides for AR/MR Applications Lightguide with 2D-periodic Grating Structures (diamond shaped) based on Patent by Wave Optics |




